凝汽器膠球清洗裝置收球網選型說明
凝汽器膠球清洗裝置收球網選型說明,膠球清洗系統是由膠球清洗裝置(收球網、膠球泵、裝球室等)、膠球管路、閥門及凝汽器等所組成。為保證該系統正常運行,一般都應配裝循環水二次過濾系統,敘述此系統。
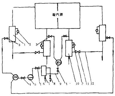
膠球清洗系統布置方式有兩種:一種是單元制,即凝汽器每側各配裝一套膠球清洗系統(見圖1),較適于為100MW及以上容量的機組配套;另一種是共用制,即兩臺收球網共用一臺膠球泵和裝球室,較適合于為小機組配套使用,如圖2所示。
1膠球清洗裝置選型
正確的選型,是保證膠球清洗系統正常運行的先決條件。因此,訂貨時,須按照技術協議或訂貨詢問單中的要求,將供設計、制造用的有關原始技術資料提供給制造廠家,以便協助用戶作好設備選型工作。
1.1收球網
一代產品為固定型收球網。二代產品為帶有上、下收球網板的活動柵格型收球網。隨著膠球清洗技術的發展,一、二代產品均已過時。今后設計、制造部門不應再向用戶推薦。
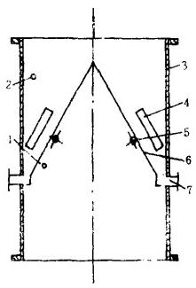
1.網后測壓點1一導流板3-網前測壓點5-軸6-網板
3沿的棚格分流型-SF型收球網示源圖
三代產品有活動柵格分流型收球網(SF型,見圖3)、活動柵格漏斗型收球網(SL型,見圖1)、活動柵格單板型收球網(SD型,見圖5)等收球網。設計合理、結構簡單緊湊、操作維護方便、適應性強、使用效果好,是目前該技術領域內的新成果,自80年代中期就開始作為換代產品被廣泛推薦使用。
I~3同圖34一網板5-軸6一導流翼7-集球箱8一膠球引出管
圖4活動柵格漏斗-SL型收球網示意圖
圖5沽動柵格單板型—SD型收球網示意圖
收球網的選型,主要取決于:
(1)循環水管公稱通徑(大管徑的用SF型或SL型,小管徑的用SD型)。
(2)凝汽器出口管中循環水流速<與收球網強度、網板夾角、膠球硬度等有關)。
(3)凝汽器冷卻管(以下簡稱冷卻管)內流速(與膠球直徑、硬度有關)。
(4)冷卻管公稱通徑(與網板柵格間距、膠球直徑有關)。
(5),冷卻管材質(與膠球品種有關)。
(6)收球網立式或臥式布置(與操作軸結構形式有關)。
(7)凝汽器有無逆洗(反沖洗)系統(與收球網強度有關)。